Nissan X-Trail 2023 Owners Manual
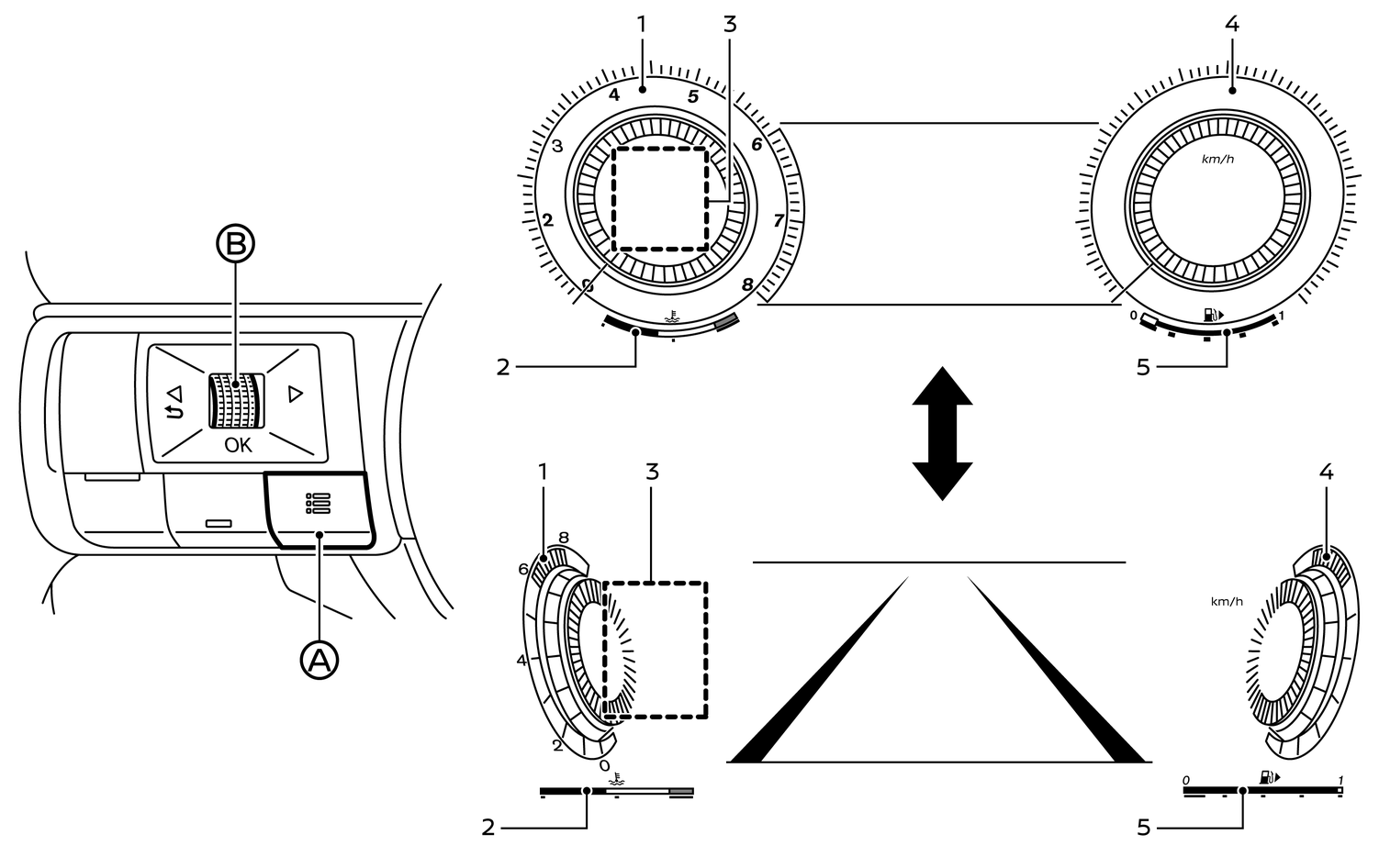
4.3.2.1. Changing the meter screen view (models with full-screen display)

- Tachometer
- Engine coolant temperature gauge
- Personal Display
- Speedometer
- Fuel gauge
For models with full-screen display, the meter screen view can be changed to expand the vehicle information display area.
To change the meter screen view:
Push the shortcut menu button (A) on the left side of the steering wheel.
[Shortcut Menu] appears on the vehicle information display area.
Select [Change Display View] by rotating the scroll dial (B) and push it to change the view.
Owners Manual